# 事件分析
# 一、事件分析的意义
用户(USER)在 APP 或游戏中产生的行为数据被称为事件(EVENT),事件数据记录了用户产生各种行为的时间、行为的类型以及行为的详细信息。对这些事件数据进行筛选或分组,最终计算聚合指标的模型称为事件分析模型。
通过事件分析,可以计算一段时间内用户产生特定行为的聚合指标,了解各行为的用户参与情况以及指标的发展趋势,从而对产品获得宏观把控,优化决策。
以消费事件举例来说,可以解决如下问题:
- 最近一月每日收入流水情况趋势?
- 最近一月来各渠道的每日收入流水与分布情况?
- 来自上海的用户,最近一月人均付费金额的趋势?
- 来自上海和北京的用户,最近一月在购买会员卡上的总付费次数对比情况?
# 二、事件分析的位置和适用角色
在顶部导航栏中的“行为分析”中选择“事件分析”,即可进入事件分析模型:

| 公司超管 | 管理员 | 分析师 | 普通成员 | |
|---|---|---|---|---|
| 事件分析模型 | √ | √ | √ |
# 三、事件分析的使用方法
# 3.1 分析指标的选择
分析指标即 「事件」 + 「属性」 + 「计算方法」 或直接 「事件」 + 「计算方法」:
| 事件 | 属性 | 计算方法 |
|---|---|---|
| 任意事件 | 总次数、触发用户数、人均次数 | |
| 事件 | 总次数、触发用户数、人均次数 | |
| 事件 | 事件属性(数值型) | 总和、均值、最大值、最小值、人均值、去重数 |
| 事件 | 事件属性(列表型) | 列表去重数、列表元素去重数 |
| 事件 | 事件属性(布尔型) | 去重数、为真数、为假数、为空数、不为空数 |
| 事件 | 事件属性(非数值、布尔型) | 去重数 |
如:任意事件的触发用户数、购买商品的人均次数、购买商品的用户平均 VIP 等级、购买商品使用 WIFI 为真数、购买商品的用户省份的去重数。
# 3.1.1 添加公式
如果需要进行分析指标间的一些四则运算,可以通过”添加公式“来实现。如分析 ARPU 值(活跃用户的人均付费金额):

“付费事件.付费金额.总和” / “用户登录.触发用户数”
# 3.1.2 添加指标
可以通过“添加指标”对多个分析指标同时进行分析,实现某些对比和展示需求,如下图:

# 3.2 分组项的选择
分组项可根据用户属性、事件属性、用户分群或用户标签进行:
| 事件描述 | 分组角度 |
|---|---|
| 任意事件 | 不分组、所有事件共有的事件属性、用户属性、用户分群、用户标签 |
| 事件 | 不分组、事件属性、用户属性、用户分群、用户标签 |
如:选择分析指标为“付费事件的付费金额的总和”,选择分组角度为“来源渠道”,即可分析各渠道的付费总额。

# 3.2.1 设置指定分组条件
可通过组合筛选条件设置出“指定分组”,如上述案例中,如果在筛选条件中选择“省份”等于“上海、北京”,则可以分析“上海、北京两地充值事件分别的充值金额的均值”,如下图:

# 3.2.2 设置多重分组
可通过选择多重分组条件将用户分组拆分成更细的维度,如上述案例中,如果选择分组角度为“省份、性别”,且筛选条件中选择“省份”等于“上海、北京”,则可以分析“上海、男”、“上海、女”、“北京、男”、“北京、女”4 种人群各自的“充值事件的充值金额的均值”。

# 3.2.3 设置“事件拆分”
“分组项”的设置对分析对象中所有事件进行分组,“事件拆分”解决只需对分析对象中某一事件进行分组统计的需求。
在事件分析中,添加两个及以上分析对象或选择“添加公式”时,在分组项右侧可选择设置“事件拆分”:

点击“事件拆分”,可选择对分析指标中的某一事件(任意事件除外)按照事件属性进行拆分计算。
如下图,选择对参与活动按照活动类型进行拆分计算,分析指标 1 即为计算不同活动类型的活动参与率。

选择事件拆分之后,可在分析指标中点击拆分图标,设置事件参与拆分的状态。
如下图,公式中的指标参与拆分,非公式指标不参与拆分,即为计算活动的总参与次数以及不同活动类型的参与率。

# 3.2.4 列表分组时的汇总粒度
(1)列表分组可以进行汇总方式设置
可选按元素汇总或按列表整体分组,汇总后,分组项将按照元素或者列表整体展示。
| 汇总方式 | |
|---|---|
| 按元素(默认) | 将每个列表拆分成多个元素,1次事件将被拆分为多个元素下的分组 |
| 按列表整体 | 将列表作为一个整体,类似字符串来看待 |
(2)选择与计算逻辑
按元素汇总:按照列表中的元素进行拆分,即 1 次事件将被拆分为多个元素下的分组
按列表整体汇总:作为整体,类似字符串的处理逻辑
(3)分组处理逻辑
按元素汇总:
- A.对于单分组处理
每个符合条件的列表在各个列表元素下都进行计算
- B.对于多分组处理(列表+其他类型)
每个符合条件的列表在各个列表元素下都进行扩充计算
按列表整体汇总:
- C.作为整体,类似字符串的处理逻辑
(4) 分组对于展示表格和下载表格的影响
按元素汇总:直接按照分组项进行展示和下载
按列表整体汇总:作为整体,类似字符串的处理逻辑
# 3.3 筛选条件的选择
通过分析指标的“指标筛选”可选出符合某些特征的事件或用户进行分析,V3.2.1及以上版本支持筛选条件的两层逻辑嵌套:

点击“添加并列条件”,可在当前条件下增加一层筛选嵌套:

筛选条件结构:

D1【筛选项目】
D2【属性逻辑】
D3【关联值】
D4【筛选条件间逻辑】
# 3.3.1 筛选项目规则
| 分析指标 | 筛选项目 |
|---|---|
| 事件 | 事件下的事件属性、所有用户属性、所有用户分群、所有用户标签 |
| 任意事件 | 所有事件共有的事件属性、所有用户属性、所有用户分群、所有用户标签 |
当筛选项目选择“用户群体”时,其类型为布尔型。
# 3.3.2 筛选项目与属性逻辑间关系
D2【属性逻辑】与 D1 筛选项目的【数据类型】关联:
| 筛选项目的数据类型 | 举例 | 可支持属性逻辑 |
|---|---|---|
| 数值 | 消费金额 | 等于、不等于、小于、大于、有值、无值、区间 |
| 字符串 | 省份 | 等于、不等于、包含、不包含、有值、无值、正则匹配 |
| 列表 | ID 名单 | 存在元素、不存在元素、元素位置、有值、无值 |
| 时间 | 注册时间(yyyy-MM-dd HH:mm:ss.SSS 或 yyyy-MM-dd HH:mm:ss) | 绝对时间、相对当前时间、相对事件发生时刻、有值、无值 |
| 布尔 | Wifi 使用 | 为真、为假、有值、无值 |
| 分群 | 用户分群 | 属于分群、不属于分群 |
# 3.3.3 筛选项目、属性逻辑、有效关联值间的关系
D3【关联值】与 D2【属性逻辑】关联:
当筛选项目的数据类型为“时间”,属性逻辑为“区间”时,可选择需要分析的时间段。
当筛选项目的数据类型为“数值”,属性逻辑为“区间”时,关联值可填入一个数值区间。
当属性逻辑为“有值、无值、为真、为假”时,无需填写关联值。
当属性逻辑为其他内容时,关联值可选择或填入一个值。

# 3.3.4 时间类型属性进行筛选时,有 5 种可能的属性逻辑
绝对时间、相对当前时间、相对事件发生时刻、有值、无值

1.绝对时间
交互逻辑与现在相同,前一个时间需要早于等于后一个时间
时间选择控件沿用现在的控件,展示时精确到分钟

2.相对当前时间
有两种主要逻辑,“之间”或“之前”,生成时默认选择“之间,过去 7 天到过去 1 天”

以自然日作为评判标准。过去 0 天的含义为今天,过去 1 天的含义为昨天,0 也可以输入。
选择之间时,两个数字输入框均可输入 0 ~ 1000 的整数,且前框要大于等于后框
选择之前时,数字输入框可输入 0 ~ 1000 的整数
3.相对事件发生时刻
有两种主要逻辑,自定义区间式或自然期限限定式,生成时默认选择 “之前 1 天”

1.主下拉框有“区间、当天、当周、当月” 4 种选项,第 1 种属于自定义区间式,后 3 种属于自然期限限定式
2.自定义区间式
可输入数字为带正负号的整数,正数代表之后,负号代表之前,0 代表相等
单位可以选择「天(相对)」、「小时」、「分钟」,「天(相对)」是折算成 24 小时,而非自然日
假设事件发生时刻为某年 8 月 2 日 5:06,之前一天内即“ 8 月 1 日 5:06 ~ 事件时间( 8 月 2 日 5:06 ) ”,之后一天内即“事件时间( 8 月 2 日 5:06 ) ~ 8 月 3 日 5:06”,前后一天即“ 8 月 1 日 5:06 ~ 8 月 3 日 5:06”
3.自然期限限定式
- 可选择事件发生时间的“当天、当周、当月”中一种,默认选择“当天”
# 3.3.5 列表类型属性的筛选逻辑
(1)筛选条件的内容
| 数据类型 | 举例 | 可支持的属性逻辑 |
|---|---|---|
| 列表 | 项目标签 | 存在元素、不存在元素、元素位置、有值、无值 |

(2)筛选条件的属性逻辑为“元素位置”时的交互与逻辑
可以对列表中某个指定位置的元素做筛选,后续逻辑同字符串处理逻辑
(3)筛选条件的且或逻辑

如属性满足包含元素[A]且包含元素[B],那么相当于属性同时包含[A]与[B]
如属性满足包含元素[A]或包含元素[B],那么相当于属性只需包含[A]或[B] 即可
# 3.3.6 多筛选条件时,设置筛选条件间逻辑
D4【条件逻辑】在筛选条件大于等于两项时出现,默认为“且”,可点击切换为“或”,以适应不同应用场景。
# 3.4 报表的设置、展示、下载与保存
当“分析角度设置区”选择完全后,点击“开始计算”,即可在“图表展示区”展示出图表结果。
# 3.4.1 展示筛选区的设置
# 3.4.1.1 分析时段与分析粒度
即选择需要分析的时间区间与细分时间粒度:
分析时段默认选项为动态时间的“过去 30 日”,默认分析时间粒度为“每天”。
分析时段:可选择今天、昨天、近 7 天、近 14 天、近 30 天、本周、上周、本月、上月。
时间粒度可按分钟、按小时、按天、按周、按月、合计进行选择:
当选择为按分钟或按小时进行检索时,可以精细到小时对数据进行筛选

a.选择按分钟:最多只计算时间选框距离最后一个自然天的数据(1440 个点),如选框达一个完整天但包含今天则可能少于 1440 个点。
b.选择按小时:最多只计算时间选框距离最后一天 30 天的数据(720 个点),如选框达 30 天但包含今天则可能略少于 720 个点。
c.选择按天:最多只计算时间选框距离最后一天两年内的数据(731 个点)。
d.选择按周:将先筛选出时间周期中包含的自然周(周一至周日),图注为:“该周的第一天”所在周,最多展示 720 个点。
e.选择按月:将先筛选出时间周期中包含的自然月,图注为:“该月”,最多展示 720 个点。
f.选择合计:选择合计时,将计算周期内所有值的合计值。
# 3.4.1.2 显示分析指标与显示分组

即选择需要在图表中即时呈现的分析内容:
显示分析对象:默认显示所有分析对象,最多 10 项,可在复选框中修改需要分析的对象。
显示分组:可在复选框中修改需要分析的分组。无排序时,选项的排序逻辑为图表中该图例的总值按分析对象之和从大到小排序;有排序时,选项的排序逻辑与当前设置的排序规则一致。
# 3.4.1.3 图表分组的排序

单个指标的分组>=2时,展示排序按钮,针对分组提供以下四种排序方式:
a.数据量少→多:按指标值升序排列
b.数据量多→少:按指标值降序排列,为系统默认排序
c.分组项A→Z:按分组名的字典序正序排列
d.分组项Z→A:按分组名的字典序降序排列
切换排序时,分组列表的展示顺序同步更新,始终与当前排序设置保持一致。
若未自定义勾选显示分组,则每次切换排序时默认勾选当前排序下的top N项(N为当前设置的显示条数);如有自定义勾选分组,则切换排序后保持之前的勾选项不变。
排序功能仅对事件分析(饼图以外的图表),以及属性分析生效,在属性分析中排序的对象为横坐标轴的分组,且不影响分组列表中选项的展示顺序。
# 3.4.1.4 图表样式的选择
默认展示趋势折线图,有折线图、柱状图等多种样式可选。折线图代表趋势,以时间维度作为横坐标。柱状图代表分布,以项目作为横坐标,以时间区间内的总值作为纵坐标进行展示。
# 3.4.2 报表内容的展示与下载
# 3.4.2.1 图表区展示
图表标题会展示分析对象的展示名信息。
图例部分会按照分析对象、分组组合而成的总图例个数依次展示图例。
展示数据将按照分析时段与分析粒度、分析对象与显示分组、图表样式共同决定及呈现。
折线趋势图的展示:

柱状分布图的展示:

分组数量过多时,图表底部展示缩放滑动条,可调整查看范围
# 3.4.2.2 对分组项的搜索

可以对分组项进行筛选,如按省份进行分组的时候可以搜索“北京”
当按照多个分组进行查看时(最多 3 个),也可以通过“不限”进行搜索
# 3.4.2.3 表格区展示与下载数据


a.表格区的展示数据不随展示筛选区的变化而改变。
b.时间粒度的拆分方法与分析粒度一致。
c.当分指标粒度较多时,可向右滑动展示更多内容。
d.可对指定的列进行排序。
e.可对行列进行转换和排序筛选。
# 3.4.3 时间对比功能

# 3.4.3.1 日期对比选项的选择
选中“日期对比”选项后,会出现对比时段的选项。可以选择需要的对比日期
(1)选中后,原始日期直接被锁定,不会被影响
(2)默认选择方式为“上一阶段”,并按照动态或静态时间直接给到对应的日期
注意当原始日期选择动态时间的“本周”、“上周”、“本月”、“上月”
对比日期会变成动态时间的“上周”、“上上周”、“上月”、“上上月”
# 3.4.3.2 日期对比对于事件分析的影响
(1) 日期对比对于图表的影响
有日期对比时,只能选择趋势图或分布图或累计图。如果从其他图表类型切换,默认切换趋势图。
(2) 趋势图
A.对比日期项使用虚线表示,与原始日期共用一个图例,图例名称不变
B.时间轴用两行显示两组时间,原始日期在上
c 鼠标移入可查看两组时间下的数据

(3)分布图

# 3.4.3.3 日期对比对于表格的展示
以多分析对象、多分组条件为例,说明展示状态下增加日期对比后的展示方式。

# 3.4.3.4 日期对比在看板中的影响

原始日期下的分组数据将以实线表示,对比日期下的分组数据将以虚线表示。时间线上将有原始日期和对比日期两个坐标轴。
# 3.4.4 事件明细内容的查询下载
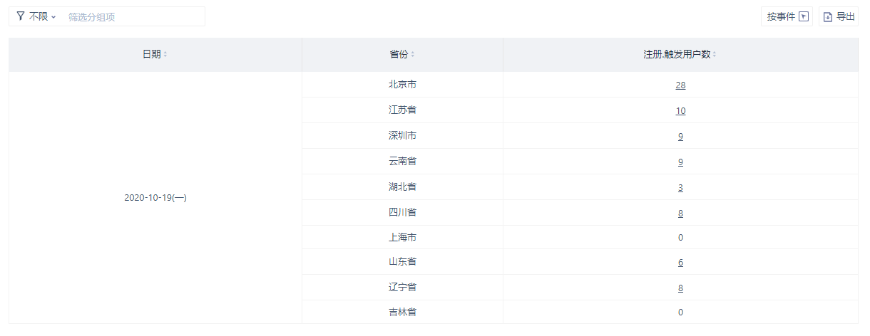
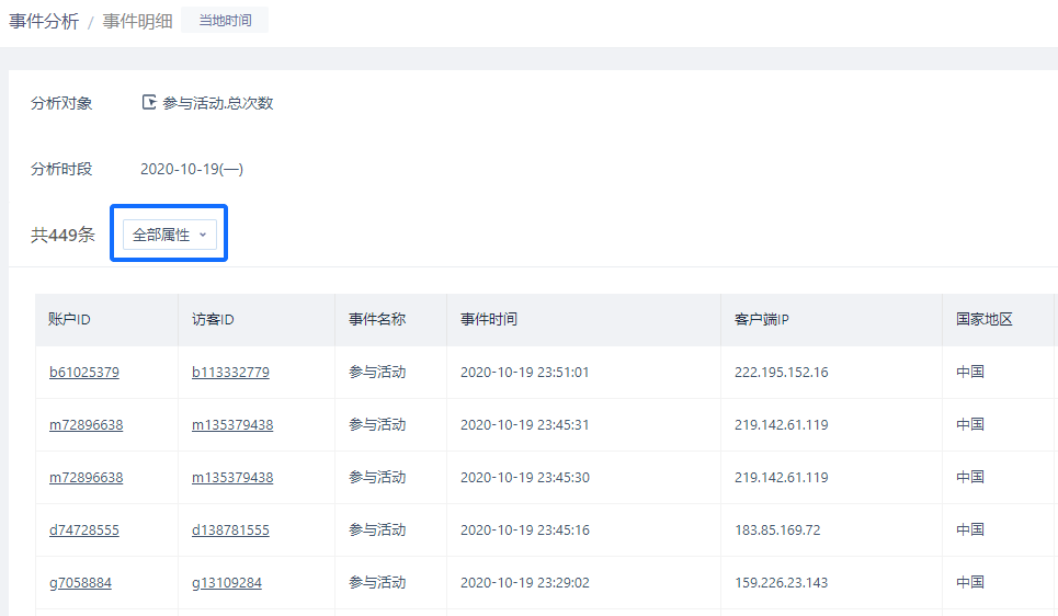
# 3.4.4.1 分析事件的总次数时,表格增加详情选项
选择分析事件的总次数,用户可以通过点击表格中的链接进入事件详情


要记录分析指标的条件、分析的时间段(注意时间对比功能)、分析时间点
# 3.4.4.2 记录数
并且记录加载的条数(最多展示 1000 条,可以通过数据下载功能下载最多 500000 数据)
# 3.4.4.3 表格筛选条件
可以对事件包含的事件属性进行筛选,选择展示和下载时需要的属性
# 3.4.5 报表的保存
可查看报表管理一章获得更多信息
【确认分析】过数据分析模型的内容后,可对报表进行保存,以方便之后在数据看板中进行配置和查看。
保存时,需要输入【报表名称】、【报表介绍】、并可将报表快捷保存入某个已有【数据看板】,以方便日常查看。
保存完后,可在事件分析的报表管理中,编辑修改报表。

# 四、最佳实践
# 4.1 了解各行为的基础指标
事件分析可以覆盖绝大多数聚合指标的计算,包括某行为的参与人数、次数、人均次数,以及该行为数值类型属性的聚合值。通过这些事件分析的聚合指标,能够对该行为的参与情况有一个基本的认识。比如说一个活动的整体参与情况,我们可以通过事件分析计算出该活动的参与人数、次数以及参与率,获知这些指标的变化趋势与分布情况。通过上述分析,我们可以对活动的基础情况有一个宏观的认识,接下来可以在此基础上进行更深入的下钻,或者在其他分析模型中了解更深入的指标。
